长辈版专区
简体
繁体
English
首 页
资讯
中心
市长
之窗
政府
信息公开
政务
服务
互动
交流
解读
回应
政府
数据
走进
黄山
政务
新媒体
首页
资讯
市长
公开
服务
互动
解读
数据
市情
新媒体
智能云搜
一网
搜
本站
站群
当前位置:
首页
> 政府信息公开 > 黄山市人民政府办公室
>
行政执法信息公示
>
执法流程
>
行政处罚流程
索
引
号:
003139067/202602-00064
信息分类:
行政处罚流程
主题分类:
其他
发文日期:
发布机构:
黄山市人民政府办公室
发布日期:
2026-02-10
生效日期:
有效
废止日期:
发布文号:
无
关
键
词:
内容概述:
有
效
性:
有效
政策咨询机关:
政策咨询电话:
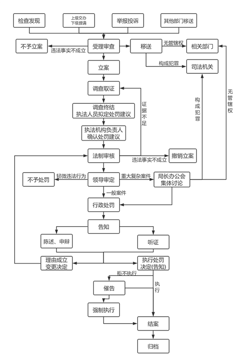
黄山市气象局行政处罚流程图
作者:市气象局
发布时间:2026-02-10 15:32
信息来源:黄山市气象局
阅读次数:
次
字号:
大
中
小
文本下载
我要纠错
打印
收藏
扫一扫在手机打开当前页
AI+政务
站群
分享